Fiberglass grating attachments and clips from Direct Metals® are specially designed to secure fiberglass grating or plates to the supporting structures. Additionally, fiberglass grating attachments and clips are used to fasten together adjacent grating panels, which minimizes load induced differential deflection. All fiberglass attachments and clips are made of Type 316 stainless steel, and are available in 1-, 1-1/2- and 2-inch sizes. When installing fiberglass grating attachments and clips, be sure to space clips a maximum of 48 inches on center and use at least four clips per piece of fiberglass grating (at least eight clips per 4-by-12-foot panel).
Clip Assemblies For Molded Fiberglass Grating:

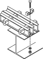
Type Z Hold Down Clips:
Type Z hold down clips will secure fiberglass grating panels to support frames.

Type F End Panel Clips:
Type F end panel clips provide a simplified method for joining factory edges of adjacent abutting fiberglass panels (not for use with some resins).

Type G Hold Down Clips:
Type G hold down clips will attach fiberglass grating to any structural member flange, 3/4" or smaller in thickness, with no drilling required.

Type M Hold Down Clips:
Type M hold down clips will secure fiberglass panels to a support in the same manner as type Z Clips but are designed to use two adjacent grating bars for a more secure fit. Type M hold down clips are similar in design to metal grating saddle clips.
Clip Assemblies For Molded Grating:

We offer Hold Down Clip Assemblies for many pultruded fiberglass grating types. Some of our clip types include P18, P25, P33, P40, P50, and P60. To maintain corrosion resistance and structural integrity, we carry standard resin sealing kits for protecting the exposed ends of cut panels and other components.
Clip Type:
- P18 for 18% open area pultruded grating
- P25 for 25% open area pultruded grating
- P33 for 33% open area pultruded grating
- P40 for 40% open area pultruded grating
- P50 for 50% open area pultruded grating
- P60 for 60% open area pultruded grating
Complete Fiberglass Grating Section of Our Product Catalog
Fiberglass Grating Catalog


